Honda 機車也要有主動轉向系統!結合盲點避免後車追撞
相較於有著車殼包覆的汽車,「肉包鐵」的機車在道路上危險性更高,但受限於車體與技術,汽車擁有更為豐富的主動安全系統,而機車大廠近年來積極將主動安全防護移植到二輪車款上,其中 Honda 便提交全新專利,讓機車擁有緊急轉向輔助功能。
Honda 將汽車配備的主動轉向系統移植到機車上。
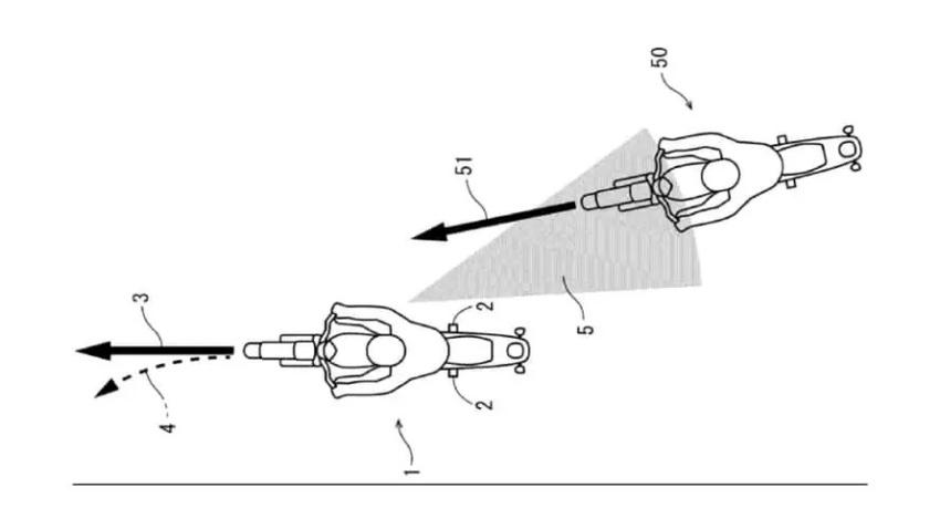
Honda 這套適用於機車的緊急轉向輔助功能,結合盲點偵測系統,辨別後方車輛是否有逼近且碰撞風險,隨後系統介入龍頭轉向,包括提升轉向扭力並進行偏移,讓機車騎士得以避開後方車輛追撞危險。
不過機車的騎乘動態很注重穩定性,為避免緊急轉向輔助突然介入嚇到騎士進而導致失控,Honda 這套緊急轉向系統會判斷 2 種情境:
1. 騎士已發現後方追撞風險時,諸如正在轉向或煞車,系統就會給予更強的轉向輔助力道,協助騎士更快閃避。
2. 騎士未發現後方追撞風險時,緊急轉向系統介入龍頭,並以漸進式增加轉向扭力,以免嚇到車主。
透過系統搭配盲點,偵測後方有追撞風險時便會介入龍頭。
若是 Honda 實現緊急轉向系統量產,預期將會率先由 Goldwing 或 Africa Twin 等旗艦車款搭載,證實其實用性並能壓低成本後,才會進一步下放到更多車款使用,甚至不排除像 ABS、TCS 系統一樣大規模配備。
【更多試駕影片】
成為粉絲,看更多汽車情報->《自由時報汽車頻道粉絲團》
